5800 Anborrningsapparat manuell

Tillverkare:

Hawle

Anborrningsapparat för tryckborrning på rör i stål, gjutjärn, asbestcement, PE och PVC. Komplett sats med tillbehör. Enkel hantering med spärrskaft och urspolningsventil för spån.

  • DN RSK/art.nr
    25-50

    1033382

Produktbeskrivning

Anborrningsapparat Nr. 5800 är ett komplett och mångsidigt verktyg för säker och effektiv anborrning under tryck på rör av stål, segjärn, asbestcement (AC) samt plastmaterial såsom PE och PVC. Systemet är utformat för att erbjuda maximal precision och kontroll vid arbete på trycksatta rörsystem. Med ett robust spärrskaft som kopplas till borrskaftet via en enkel låsanordning kan operatören borra med hög noggrannhet. Under borrningen spolas spån automatiskt ut genom en integrerad urspolningsventil, vilket förhindrar igensättning i rörsystemet.

Produkten levereras komplett i en praktisk verktygslåda och innehåller alla nödvändiga komponenter för snabb och säker installation. Tätningarna är kapslade och förmonterade för att garantera täthet och effektiv montering. Apparaten är kompatibel med servisventiler av typen ZAK eller gängade uttag genom användning av rätt adapter. Anborrningsapparat Nr. 5800 är det optimala valet vid behov av flexibel och pålitlig borrning i trycksatta rörsystem och används ofta tillsammans med Hawles breda sortiment av anborrningskopplingar och sadlar.

Leveransen omfattar anborrningsapparat Nr. 5820, verktygslåda Nr. 5810, spärrnyckel Nr. 5830 samt borraxel Nr. 5840. Medföljer gör spiralborrar för stål-, gjutjärns- och AC-rör: spiralborr 1" Ø24 mm, spiralborr 1 1/4" Ø29 mm, spiralborr 1 1/2" Ø35 mm och spiralborr 2" Ø40 mm. För PVC-rör ingår anborrningsfräsar: 1" Ø24 mm, 1 1/4" Ø29 mm, 1 1/2" Ø35 mm och 2" Ø40 mm.

Vidare ingår reduktionsnipplar med gummitätning: 2"–1", 2"–1 1/4" och 2"–1 1/2" (2 st), samt nippel med gummitätning 2"–2". I verktygsuppsättningen ingår även en sexkantsnyckel SW 5 (1 st), två haknycklar samt avstängningsnyckel för avstängning i dimensionerna 1"–1 1/4" och 1 1/2"–2".

Apparaten levereras komplett i låda, totalvikt 17,5 kg.

Som alternativ till spiralborrarna (Nr. 5850) kan anborrningsfräsar för stål- och gjutjärnsrör (Nr. 5870) användas, med följande dimensioner: 1" Ø24 mm, 1 1/4" Ø29 mm, 1 1/2" Ø35 mm och 2" Ø40 mm. För ytterligare anpassning finns adapter Nr. 5940, 2"–1 1/2".

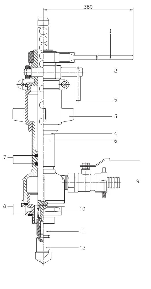
1. Spärrskaft

2. Ställbult

3. Ansättningsmutter

4. Röd markering

5. Borrskaft

6. Verktygskropp

7. O-ring

8. Gummitätning

9. Urspolningsventil

10. Reduktions- eller dubbelnippel

11. Fästskruv för fräs

12. Fräs

DN Artikelnummer Vikt (kg)
25-50 1033382 16,50

Videor