9884 Spjällbackventil med hydraulisk dämpning
Tillverkare:
Hawle
Tiltsätesbackventil med mjuk tätning. Snabb stängning och låg flödesförlust. Finns tillgänglig DN 150-1000 på förfrågan.
Produktbeskrivning
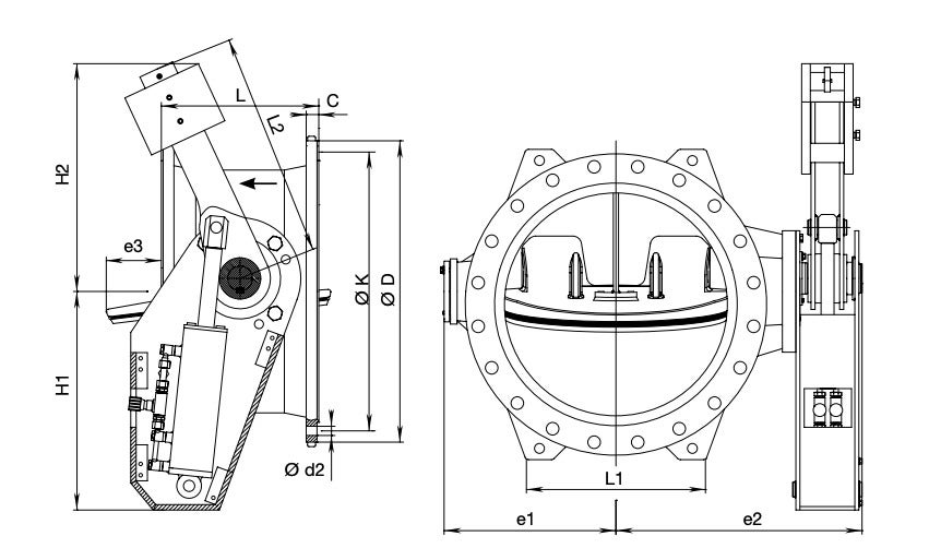
Hawle 9884 är en tiltsätesbackventil med mjuk tätning, framtagen för att ge effektivt bakflödesskydd i trycksatta vattenledningar. Ventilen har en lutande säteskonstruktion som medger snabb stängning vid flödesomkastning och därmed minskar risken för tryckslag. Den gummiförsedda skivan tätar effektivt även vid låga tryck och reducerar ljudnivån vid drift. Huset är tillverkat i segjärn med epoxibeläggning enligt GSK-standard och invändiga delar i rostfritt stål samt gummikomponenter i EPDM. Ventilskivan är monterad på gångjärn med robusta lager som ger stabil rörelse och lång livslängd. Den optimerade hydrauliska designen ger låg flödesförlust, vilket är avgörande för energieffektiv drift i vattenöverföringssystem. Ventilen kan utrustas med hydraulisk dämpare som tillval för att ytterligare förbättra stängningens mjukhet och minska vattenstötar. Den är enkel att underhålla – serviceluckan kan öppnas utan att ventilen demonteras från rörledningen. Hawle 9884 är lämplig för horisontell eller vertikal installation, finns i dimensioner från DN 200 till DN 1000 och är tryckklassad till PN 10, PN 16 eller PN 25 beroende på storlek. Den lämpar sig väl för både kommunala vattenverk och industriella anläggningar där hög tillförlitlighet och smidig drift är viktiga.
| DN/YD | PN | Artikelnummer | C (mm) | ØD (mm) | Ød2 (mm) | e1 (mm) | e2 (mm) | e3 (mm) | H1 (mm) | H2 (mm) | ØK (mm) | L (mm) | L1 (mm) | L2 (mm) | Vikt (kg) |
|---|---|---|---|---|---|---|---|---|---|---|---|---|---|---|---|
| 250 | 10 | 9884 NB630063 | 22 | 405 | 23 | 373 | 29 | 29 | 288 | 390 | 350 | 255 | 370 | 241 | 130,00 |