Byggvarubedömd produkt - Id: 136526, Produkten har fått bedömningen "Accepteras" av Byggvarubedömningen.

3151 Servisventil i polyacetal

Tillverkare:

Hawle

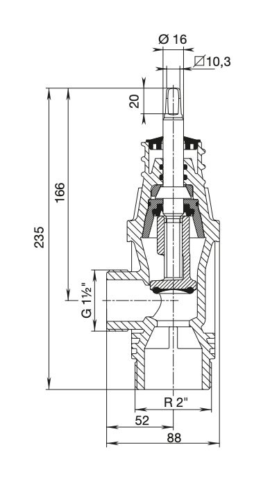
Vinkelventili POM med 2" utvändig gänga och 1½" anslutningsgänga för valfri instickskoppling (Ø25–63 mm). PN 16. Friktionsfri tätning mellan kägla och hus. Spindel i duplex rostfritt stål, dubbla O-ringar, korrosionsfria komponenter. Levereras utan koppling – flexibel lösning vid installation.

  • DN RSK/art.nr
    2"-11/2"

    4328552

Byggvarubedömd produkt - Id: 136526, Produkten har fått bedömningen "Accepteras" av Byggvarubedömningen.

Produktbeskrivning

Servisventil Nr. 3151 är en vinkelventil tillverkad i POM (polyacatal), konstruerad för anslutning till PE-rör enligt EN 12201 och DIN 8074 i dimensioner Ø25–63 mm. Ventilen har konisk 2" utvändig gänga enligt EN 10226 för montage direkt på rörsadel och en 1½" cylindrisk gänga enligt ISO 228 för separat tillval av instickskoppling, exempelvis Nr. 6221F. Ventilen är avstängningsbar med mjuktätande kägla i mässing med vulkaniserat EPDM-gummi enligt EN 681-1. Tätningssystemet är helt friktionsfritt, vilket eliminerar slitage och ger lång livslängd. Alla komponenter är tillverkade av korrosionsfria material, vilket gör ventilen fullt lämpad för nedgrävda installationer. Spindeln är tillverkad i rostfritt duplexstål (1.4162) med rullgänga och slipad tätzon. Ventilen är utrustad med dubbla O-ringar, spindellager i mässing, överlastskydd i rostfritt stål samt tätningar i EPDM. Ventilen levereras utan instickskoppling, vilket ger flexibilitet att välja passande dimension vid installation.

Material
Hus

POM

Kägla

Kägla av mässing CuZn21Si3P med maximal blyhalt 0,1 procent. Gummerad utvändigt med vulkaniserat EPDM-gummi enligt EN 681-1. Med dräneringshål.

Spindel

Rostfri duplexspindel 1.4162 med PRE-värde cirka 26. Gropkorrosionspotential minst 750 mV. Rullad gänga. Spindeln polerad i området för O-ringen för tätning.

O-ringar

Elastomer

Läpptätning ventilhals

EPDM enligt EN 681-1.

Överlastskydd

Rostfritt stål

Tätnings -och torkarring

EPDM.

DN PN Artikelnummer Vikt (kg)
2"-11/2" 16 4328552 0,85

Dokument

Liknande produkter